emilspec
An Integrated Publishing, Inc. Site
eMilSpec
An Integrated Publishing Website
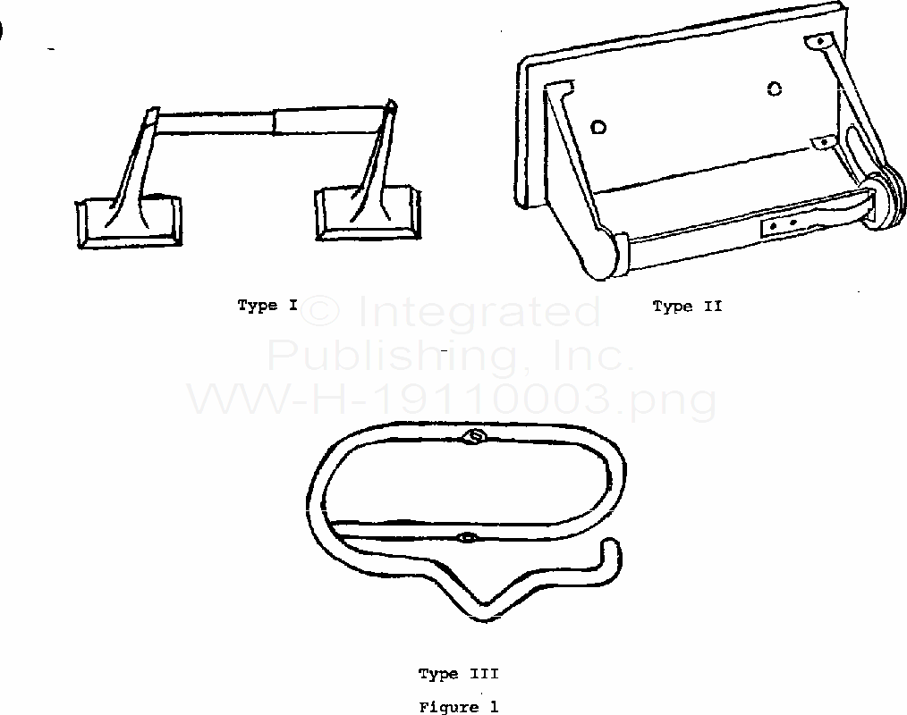
WW-H-1911 Holder, Toilet Paper (Single Roll) (S/S By A-A-2524)
This specification covers three types of toilet paper holders.
For Parts Inquires call
Parts Hangar, Inc
(727) 493-0744
© Copyright 2015 Integrated Publishing, Inc.
A Service Disabled Veteran Owned Small Business